最近从专利局中挖出的一项苹果公司的新专利专利显示:该项专利能够让智能手机知晓用户握住手机的方式,提供自动单手模式,自动将用户界面移动到用户拇指可以触摸到的地方。

自动单手模式
此外,苹果公司表示,这项技术可以在现有iPhone硬件上实现,这意味着这种智能UI移位技术可能仅仅通过更新即可让现有用户获得。它可以监控设备的运动或角度,或者拇指在屏幕上移动情况,甚至跟踪信号性能的变化。

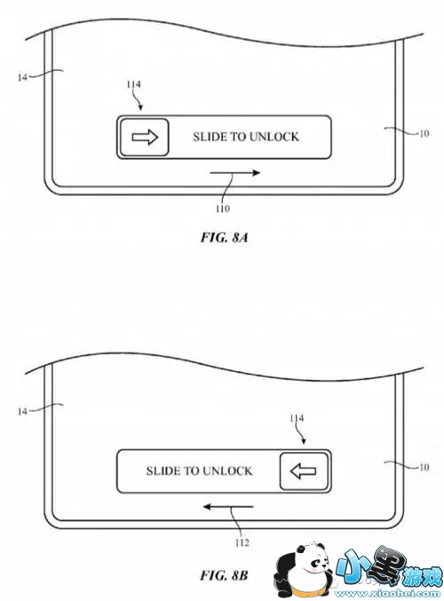
这项技术可以让苹果滑动解锁界面自动适合左手或者右手来完成。
了解更多关于苹果的信息,请关注公众号
PC6果粉app∣一切与苹果有关

- 装机必备更多
Tags:
责任编辑:小黑游戏