Flash助手小广告怎么删除?大家肯定以为是病毒。左上角那个Flash助手如何关闭呢?小黑游戏小编就为大家带来关闭Flash助手推荐弹窗的详细教程,欢迎收藏!

方法一
材料
一台装有最新版Flash且有弹窗的电脑一台
360任务管理器一个(能显示路径的都可以)
步骤
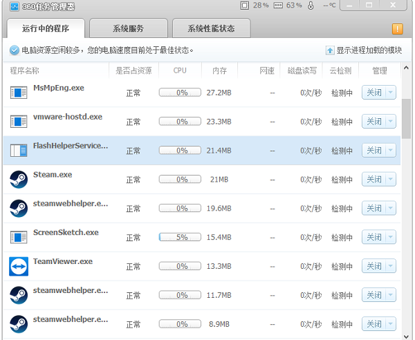
打开你的任务管理器(这里用的是360),可以看到FlashHelper在运行

这个程序自称负责Flash的升级服务

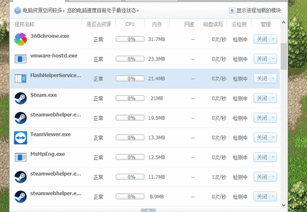
点击把它关闭,可以看到弹窗广告立即消失了

然后追踪它的路径,可以看到这个东西的确是在Flash的安装文件夹里面的

看看它的信息

Flash里面怎么会有一个中国公司的软件?删掉他还能升级吗?

采取措施
有些小伙伴担心删掉后无法更新,告诉你,不存在的。Flash已经说清楚了2020年就要将这个Flash技术关闭了,不会有更新版本的。
1. 删除主程序
搞明白路径了,删除的确是最powerful的办法。缺点是Flash助手的服务还是会照常启动(ff助手分服务和主程序,删掉的是主程序),不过服务找不到主程序也不会有弹窗。
2. 彻底删除
上面一种方法会有残留的启动项和注册表项,会玩的同学可以试试这个方法。
可以直接使用批处理删除注册表项及文件,复制以下文本,打开记事本,粘贴后,点文本->另存为(A),将保存改类型改为所有文件(.),文件名输入: 删FF.bat,右键管理员运行.如果提示拒绝访问,可以再运行一次,可能是进程未能结束掉.如果都提示未找到,说明删除成功。

方法二
32位系统
C:/Windows/System32/Macromed/Flash/
64位系统
C:/Windows/SysWOW64/Macromed/Flash/
步骤
找到FlashHelperService.exe删除掉

如果出现这个,就到任务管理器关掉FlashHelperService.exe

结束进程之后再删除FlashHelperService.exe
再到注册表里面查找FlashHelperService.exe,并且删除。
切记!一定要先备份注册表。
Tags:
责任编辑:小黑游戏